75°角光泽度仪是指光泽度仪光源与接收器角度成75°角的光泽度仪,75°角光泽度仪由于其角度的特殊性,主要用于纸张行业光泽度的测量。对75°角光泽度仪进行了解,有助于更好的使用仪器进行测试工作。本文对75°角光泽度仪的光学系统及测试原理做了解析。

75°角光泽度仪主要由电光系统、光学系统、光电系统、电子系统和数据处理、输出打印系统组成。电光系统主要由光源和相应的电源组成,电光系统对整机的稳定性有很大的影响,是仪器不稳定的重要原因之一。光学系统包括外光电系统(反射镜、聚光镜),光学系统外光路设计最重要的是充分利用灯源发出的光通量,尽量多的聚焦在人射狭缝上,为了消除色差,目前国内外科技工作者都采用反射镜(没有色差)效果很好。光电系统是将光信号变成电信号的关键部件,直接影响仪器的灵敏度和适用范围。电子系统主要有放大器、AD转换器等组成,其中放大器也是影响整机灵敏度、稳定性的主要部件,它又是仪器噪声的主要来源部件,直接影响光泽度的分析误差。数据处理、输出打印系统是决定整机的自动化程度的关键部件,特别是软件部分,直接影响光泽度的质量。
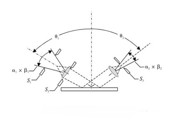
75°光泽度仪光学系统如下图所示,光线从光源出发,经过聚光镜和矩形孔径(矩形光源视场光阑)的几何中心。光阑用于限制灯丝,使之成为有效光源,光线通过光源物镜和矩形孔径的几何中心到达试样。轴光线与试样平面的交点称为测试面中心(不必与测试孔的儿何中心重合)。将一块平面镜放到试样位置,轴光线被平面镜反射并且通过接收孔的中心,光源物镜将光源孔径成像在接收孔上,将测试面中心到接收孔距离作为确定其他尺寸的基数。关键尺寸是人射角度和接收孔的位置和直径。

75°光泽度测定仪光学系统由光源、透镜,试样压板和光电器件组成,仪器的测量头由发射器和接受器组成,发射器由光源和一组透镜组成,它产生一定的人射光束,接受器由透镜和光敏元件组成,用于接受从样品表面反射回来的锥体光束。用光电检测器测定与法线成一定角度75°,人射到试样表面,并从试样表面与法线成相应角度75°反射到规定孔径内的光,其结果显示在仪器上。
75°光泽度测定法主要适用与涂布纸、纸板,也可用于未涂布及纸板或低印刷光泽度的纸与纸板印样,试样的颜色和漫反射比的差别对测定光泽度影响不大。《纸及纸板的75°镜面光泽度试验方法》JIS规定:纸的光泽度测定方法是与试件面入射角75°入射规定开度角(入射方向2.85°,垂直方向5.70°)的光束,此时检测器接受由正反射方向反射的规定开口(11.5°园形)光束,在相同条件下对,设置试件面折射率为1.567的玻璃(标准板)镜 面反射光束的光量的比,即可得到镜面光泽度。
用公式表示时,设Gs(75°)x%,x为被测纸的光泽度。其数学表达式为:Gs(θ)%=δs/δos×100。
其中:其中:δs——纸的镜面反射光量(扩散反射成分+镜面反射成分),δos--折射率为1.567的标准板玻璃表面的镜面反射光量。
电话:13376066805
邮件:sales0019@3nh.com